Àý¿¬¿ë¿Í¼Å
Àý¿¬¿ë Æò¿Í¼Å(PPS)
[WQ½Ã¸®Áî] (£±ÆÑ100¸ÅÀÔ) |
- ÇÁ¸°Æ®±âÆÇÀÇ ³ª»ç±¸¸Û¿¡ ÆÐÅÏÀÌ Á¢±Ù ÇØ ÀÖ´Â °æ¿ì¡¢Àý¿¬¿Í¼Å¸¦ »ç¿ëÇÏ¿© ¼îÆ®¸¦ ¹æÁöÇØ ÁֽʽÿÀ¡£
- ÀçÁú・・・・・・PPS(UL94V-0)
- »ö・・・・・・°¥
- »ç¿ë¿Âµµ¹üÀ§・・・・・・££´£°¢¦£«£²£°£°¡É
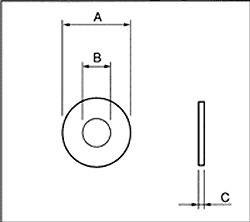
| ǰ¹ø | A£¨¥õ£© | B£¨¥õ£© | C£¨mm£© | »ç¿ë³ª»ç |
| WQ-3 | 7 | 3.2 | 0.5 | M£³¿ë |
| WQ-4 | 9 | 4.3 | 0.8 | M£´¿ë |
| WQ-5 | 10 | 5.3 | 1.0 | M£µ¿ë |
PDFÆÄÀÏ(21KB)