|
Test Pin (For Logic Circuit Test)
[SB Series] (1000pcs/pack) |
|---|
![]() |
|---|
![]() |
| Material | Brass |
|---|---|
| Finish | Au plating over Ni |
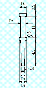
| Model No. | D1 (phi mm) | D2 (phi mm) | D3 (phi mm) | D4 (phi mm) | D5 (phi mm) | H (mm) | Recommended through-hole diameter (phi mm) |
|---|---|---|---|---|---|---|---|
| SB-1-1 | 1.5 | 1.2 | 0.8 | 0.8 | 0.65 | 3.0 | 0.8 |
| SB-1-2 | 1.5 | 1.2 | 0.8 | 0.8 | 0.65 | 5.0 | 0.8 |
| SB-2-1 | 2.0 | 1.5 | 1.0 | 1.0 | 0.8 | 3.5 | 1.0 |
| SB-2-2 | 2.0 | 1.5 | 1.0 | 1.0 | 0.8 | 6.5 | 1.0 |